[MATOS] Les innovations pour les annees a venir

Salut,
De temps en temps je vais voir la base de donnée des brevets d’invention concernant le snowboard.
Du coup je vous partage ce que j’y ai trouvé. Cette année il y quelques pépites !!!
On commence par les plus sérieuses :
Voila a deposé une nouvelle fixation de split :

on a aussi une fix a 3 boucles pour amplid dans les cartons :

bon la on va passer dans les inventions un peu plus farfelues
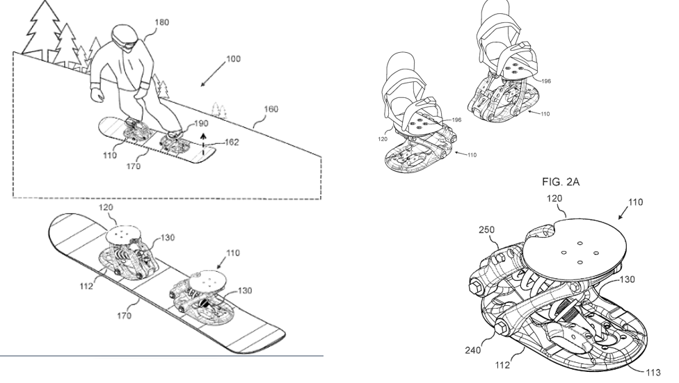
on commence par les fix magnetique :

celle la elle a le merite d’ajouter une dizaine de kg a ta planche

la je ne sais plus quoi dire, a part pourquoi?

image

et la dernière, bon c’est peu hors sujet parce que pas évident a adapter a un snowboard :

image

il y a un stepin chinois aussi qui ressemble beaucoup au burton stepon.
voila vous savez a quoi s’en tenir pour les années a venir.

Julien

1 « J'aime »

intéressant les idées … enfin s’il nous reste de la neige

Salut Julien, top ces petites trouvailles d’engineering !!. bon pour le mental :slight_smile:
*J’ai eu une fix 3 boucles F2 y’a très longtemps. En appui front ça réagit de suite , pas le temps au mollet de se décoller du spoiler, c’est assez rigide, pour carver avec le confort des boots.
*La « pourquoi » fait penser à un skwal avec beaucoup d’angle vers le devant et surélevé pour mettre de l’angle. Ensuite le plateau où sont les fix vient jumeler les 2 skis cote à cote. Je ne vois que l’intérêt a part doubler les carres et donc améliorer l’accroche.
*Je laisse les chenilles pour les skieurs ahahaha !
*Par contre, à quand la fix magnétique ou la board entière electro-magnétique ?? :))
Silver surfer

Salut,
Ca date de l’année dernière, la korua nose rider avec les fix qui peuvent coulisser le long d’un rail :

Je me souvenais que j’avais déjà vu ce concept et la vous n’êtes pas prêts. Enfin si vous connaissez déjà Jacques Démarchi ca vous surprendra un peu moins : Le twist roll avait un avenir finalement!

La nose rider apporte une vraie inovation, un vrai changement, pour groover sur les billards autrichiens…

Salut les rideurs, salut les rideuses (j’adore, ca fait youtuber)
Je suis retourné fouiller dans espacenet, il y a encore quelques pépites.

on commence par une fixation de split a levier, pas mal


https://worldwide.espacenet.com/publicationDetails/originalDocument?CC=US&NR=2024198797A1&KC=A1&FT=D&ND=4&date=20240620&DB=&locale=fr_EP#?locale=fr_EP&CC=US&II=5&date=20240711&NR=2024226704A1&ND=4&KC=A1&rnd=1726835216368&adjacent=true&FT=D&DB=

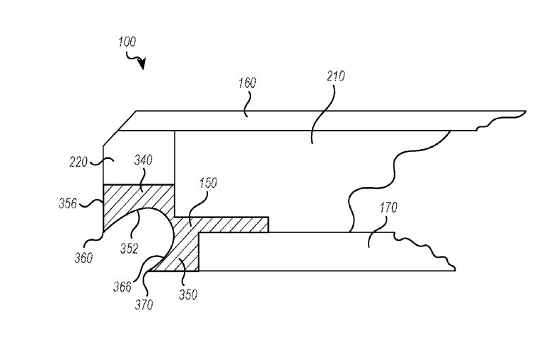
Burton a breveté un trou, bravo a eux!
image
https://worldwide.espacenet.com/publicationDetails/originalDocument?CC=CN&NR=220676722U&KC=U&FT=D&ND=4&date=20240329&DB=&locale=fr_EP#?locale=fr_EP&CC=HU&II=40&date=19970929&NR=P9601209A1&ND=4&KC=A1&rnd=1726836862208&adjacent=true&FT=D&DB=

un petit step-in chinois
image
https://worldwide.espacenet.com/publicationDetails/originalDocument?CC=GB&NR=2627348A&KC=A&FT=D&ND=4&date=20240821&DB=&locale=fr_EP#?locale=fr_EP&CC=CN&II=59&date=20240112&NR=220326931U&ND=4&KC=U&rnd=1726837757520&adjacent=true&FT=D&DB=

Nidecker prevoit une fix pour le marché de la loc on dirait
image
https://worldwide.espacenet.com/publicationDetails/biblio?CC=US&NR=2023415022A1&KC=A1&FT=D&ND=4&date=20231228&DB=&locale=fr_EP

On continue avec une chenillette teleski


https://worldwide.espacenet.com/publicationDetails/originalDocument?CC=US&NR=2024198797A1&KC=A1&FT=D&ND=4&date=20240620&DB=&locale=fr_EP#


https://worldwide.espacenet.com/publicationDetails/originalDocument?CC=US&NR=2024198797A1&KC=A1&FT=D&ND=4&date=20240620&DB=&locale=fr_EP#?locale=fr_EP&CC=US&II=3&date=20240725&NR=2024245978A1&ND=4&KC=A1&rnd=1726835363128&adjacent=true&FT=D&DB=
J’ai pas bien compris l’intérêt, a part fragiliser la carre…

Quand l’innovation est en marche difficile de l’arreter, le tapis de yoga pour les rideurs. Je me demande si la boite qui developpe ca a pu benificier du credit d’impot recherche?


https://worldwide.espacenet.com/publicationDetails/originalDocument?CC=US&NR=2024198797A1&KC=A1&FT=D&ND=4&date=20240620&DB=&locale=fr_EP#?locale=fr_EP&CC=WO&II=2&date=20240725&NR=2024155209A1&ND=4&KC=A1&rnd=1726836059624&adjacent=true&FT=D&DB=

vous ne vous etes vous jamais dit comment retier la neige et la glace de ma board? et voila la solution une souffleuse a neige pour snowboard et ski
image
https://worldwide.espacenet.com/publicationDetails/biblio?CC=CN&NR=220507270U&KC=U&FT=D&ND=4&date=20240220&DB=&locale=fr_EP

une enieme fix rotative


et une autre

encore une?
image

Dans le même thème récurant on a les snowboards motorisé et le freins pour snowboard.Il s’agit essentiellement de brevet chinois. Parfois avec un guidon type trottinette, parfois sans.
J’avais renoncé a vous les presenter mais celui-ci a turbine vaut le coup d’oeil
image
https://worldwide.espacenet.com/publicationDetails/originalDocument?CC=GB&NR=2627348A&KC=A&FT=D&ND=4&date=20240821&DB=&locale=fr_EP